- 暂时还没有文章
固定式取样装置:一种锅炉烟道飞灰取样器说明。一种用于锅炉烟道的飞灰取样器,包括取样枪、分离器、集灰瓶、喷射泵及电磁阀,该取样枪的一端伸入于烟道中,另一端与分离器相连,该分离器下端连接一集粉瓶,该分离器还连接一吸气管,该吸气管末端连接有一个三通管,该三通管的一个接口位于喷射泵内,另一接口连接一电磁阀,电磁阀与外部大气贯通。
飞灰取样器,利用外界的空气与烟道内烟气压差通过喷射泵能自动连续采集灰样,同时能对整个系统进行自动吹扫,清除残留粉尘,而避免了堵粉,减少了外在动力因故障带来的可靠性问题;而且加热器能将飞灰取样器内温度保持在预定温度,确保飞灰不结块堵塞,保证了飞灰取样器运行的稳定可靠。
为及时准确地为锅炉燃烧调整提供可行的依据,同时也可为运行经济分析提供科学数据,需要对锅炉烟道飞灰进行取样分析。
然而长期以来,在飞灰的取样过程中,取样装置常常会因飞灰堵塞或者飞灰因水分过高而结块堵塞,使得无法正常工作,使得取样难以确保稳定及可靠。为此,业界提出用外在动力对系统进行除灰处理,通常是用压缩气体进行吹扫,然而,这种方式对外在动力依赖性过强,在外在动力故障时,即无法正常吹扫;而且,依靠外在动力也使得设备过于复杂而且成本较高,为解决上述现有技术中的存在的问题,提供一种飞灰取样器,其能有效清除系统内的残留粉尘,并能防止飞灰结块,确保取样器运行稳定可靠。
为达到上述目的,提供一种用于锅炉烟道的飞灰取样器,包括取样枪、分离器、集灰瓶、喷射泵及电磁阀,该取样枪的一端伸入到烟道中,另一端与分离器相连,该分离器下端连接一集粉瓶,该分离器还连接一吸气管,该吸气管中段连接有一个三通管,该三通管的一个接口连接位于喷射泵内的该吸气管的喷嘴,该三通管的另一接口连接该电磁阀,电磁阀与外部大气贯通。
该取样枪内还进一步设有一个由一单片机控制以防止飞粉结块的加热器。由于采用上述技术方案,实用飞灰取样器具有如下有益效果:飞灰取样器,利用外界的空气与烟气的压力差,对整个系统进行自动吹扫,清除残留粉尘,而避免了堵粉;而且加热器能将飞灰取样器内温度保持在预定温度,确保飞灰不结块堵塞,保证了飞灰取样器运行的稳定可靠。
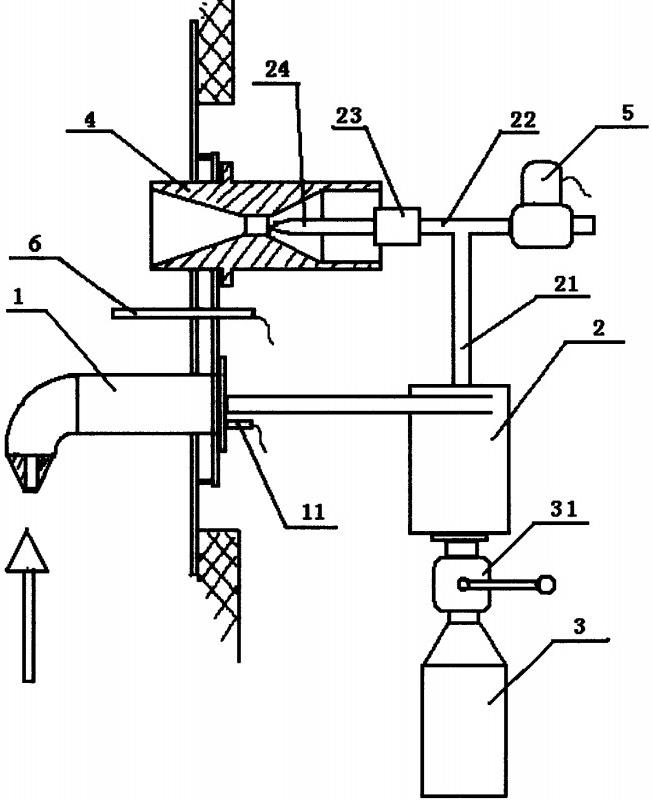
【附图说明】
图1是飞灰取样器的示意图。
【具体实施方式】
如图1所示,飞灰取样器用在锅炉烟道内进行飞灰取样,包括取样枪1、分离器2、集灰瓶3、喷射泵4及一电磁阀5.该取样枪1的一端伸入到烟道中,在该取样枪1内还设有一加热器11。中的取样枪1采用耐磨不锈钢制造,防腐耐磨性能好,经久耐用。该分离器2连接于该取样枪1的末端,此外,该分离器2还连接一吸气管21,该吸气管21末端连接有一个三通管22,该三通管22的其中一个接口连接有一个调节器23,而在调节器23的末端连接有一个喷嘴24,该喷嘴24喷射速度可由调节器23进行调节。该集粉瓶3通过一快速接头31连接于该分离器2的下端。该喷射泵4的一端伸入到烟道中与烟道并相贯通,其另一端可供吸气管21末端的喷嘴24伸入。该电磁阀5连接于三通管22的另一接口上,该电磁阀5与外部大气贯通。该飞灰取样器还可进一步包括一控制柜(图未示出),该控制柜内设有一单片机。该单片机包括有控制加热器11启闭的温度控制模块以及控制电磁阀5启闭的时间控制模块。该控制柜进一步包括一显示屏及若干控制按键。在飞灰取样器工作过程中,在单片机控制下而具有程控吹扫功能及自动加热防止喷嘴结块功能,这样可以避免系统内飞灰结块堵塞。
此外,还可在烟道内设一测温器6来监测烟道内的烟气的温度,并将测得的数据提供给控制柜,以便于单片机控制加热器11的启闭。在工作初始化时,电磁阀5处于关闭状态,取样器处于工作状态;之后,电磁阀5被打开,由于大气与烟道内存在气压差,大气压大于烟道内的气压,使得外部大量的空气通过电磁阀5进入系统内进行吹扫,将系统内的残留粉尘吹扫干净;然后,关闭电磁阀5、并打开集粉瓶3与分离器2之间的快速接头进行正常取样;
取样后,再次打开电磁阀5由外界的空气对系统再次进行吹扫,清除系统管道内的残留粉尘。在整个取样过程中,吹扫→取样→吹扫的模式始终循环进行,其时间间隔由单片机通过时间控制模块控制,从而有效避免了堵粉问题。
同时,为防止排烟温度低于露点或者在飞灰中水分含量过高时带来的飞灰结块问题,在单片机的温度控制模块的控制下,取样枪1的加热器11自动加热,将取样枪1内取得的飞灰温度保持在预先设定的温度,确保了飞灰干燥不结块。从而可以有效防止取样枪1、分离器2以及喷射泵4等部位的飞灰结块堵塞。
这样,飞灰取样器,利用外界的空气对整个系统进行自动吹扫,清除残留粉尘,而避免了堵粉;而且加热器11能将飞灰取样器内温度保持在预定温度,确保飞灰不结块堵塞,保证了飞灰取样器运行的稳定可靠。
32070602010017