- 暂时还没有文章
煤粉取样器,锅炉飞灰取样器装置结构与使用说明,目前,现有技术中的煤粉取样器装置的测量原理为静压法测量。该煤粉取样器装置包括静压平衡等速取样弯头式取样枪,取样枪的前端设置有取样探头,取样探头的外侧开设有一测压孔,该一测压孔用于测量煤粉管道内腔的实际煤粉气流的静压,取样探头的内侧开设有二测压孔,二测压孔用于测量取样探头内的取样煤粉气流的静压。在现有技术中,将被取样气体视作理想流体,不考虑阻力的影响。当测量得到的实际煤粉气流的静压与取样煤粉气流的静压相等时,推测得到取样煤粉的速度与实际煤粉气流的速度相等。
然而在实际中阻力是不能忽略的,因而,当测量得到的实际煤粉气流的静压与取样煤粉气流的静压相等时,并不能推测出取样煤粉的速度与实际煤粉气流的速度相等,故现有技术中的煤粉取样器装置并不能实现等速取样。
该煤粉取样器,锅炉飞灰取样器装置包括:取样装置、测速装置和调节装置。其中,取样器装置用于取样煤粉管道内的煤粉。测速装置用于检测煤粉管道内的煤粉速度以及取样装置内的煤粉速度。调节装置设置在取样装置上,调节装置用于调节取样装置内的煤粉速度。使用该煤粉取样器装置取样,通过测速装置分别检测煤粉管道内的煤粉速度以及取样装置内的煤粉速度,当二者的速度不相等时,通过调节装置调节取样装置内的煤粉速度,以使取样装置内的煤粉速度与煤粉管道内的煤粉速度相等,当二者速度相等时,通过取样装置进行取样,从而实现了等速取样。因而,采用提供的煤粉取样器装置能够解决现有技术中的煤粉取样器装置不能实现等速取样的问题。
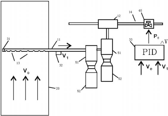
图1示出了提供的煤粉取样器,锅炉飞灰取样器装置的结构示意图;
图2示出了提供的煤粉取样管道上的取样点的位置示意图。
其中,上述附图包括以下附图标记:11、取样管;12、抽气器;13、取样口;14、抽气管;20、煤粉管道;21、取样点;31、一传感器;32、二传感器;33、处理器;40、调节阀;51、旋风分离器;52、收集瓶。
煤粉等速取样方法包括如下步骤:
(1)取样前由抽气器12抽气对取样管11内腔进行吹扫,除去取样管11内腔残留的煤粉,使取样管11的内腔畅通;
(2)将取样管11及其上取样口13伸进煤粉管道内腔中;
(3)打开抽气管上的调节阀40,PID控制器根据两个静电传感器的感应信号计算出煤粉管道20内的煤粉流速和取样管11内煤粉流速差值大小,根据差值大小,工作人员手动调整调节阀40的开度,从而控制取样管11内的抽气压力,使得取样管11和煤粉管道20中的煤粉流速相等;
(4)使取样管11上的取样口13与取样点21相对应,取样时间2-3分钟,在一个取样周期内实现定时取样;
(5)将取样管11及其上的取样口13均退出煤粉管道20,取样过程完毕。
例中的煤粉取样器,锅炉飞灰取样器装置结构简单,取样时间短。其通过按等面积原理把煤粉管道20的横截面分成多个等面积同心圆环,直径与圆环交点处定为取样点21,使取样口13的圆形与取样点21相重合,取样时间2-3分钟,在一个取样周期内实现定时定点取样,使取得的样品更具有代表性。
采用例提供的煤粉取样器装置,通过测速装置和调节装置能够使取样管11内的速度与煤粉管道20内的速度相等,从而实现了等速取样。例中采取的这种取样方法克服了传统取样设备中在线煤粉取样误差的缺点,例中的取样具有代表性,提高了取样的准确性。同时,这种煤粉等速取样方法适用于风、粉两相流的取样,整个过程中可根据实际情况手动调节调节阀40来调节取样管11内的煤粉速度,使得取样管11与煤粉管道20中的煤粉流速相等,减小了取样误差,提高了取样的精确性。
需要注意的是,这里所使用的术语仅是为了描述具体实施方式,而非意图限制根据本申请的示例性实施方式。如在这里所使用的,除非上下文另外明确指出,否则单数形式也意图包括复数形式,此外,还应当理解的是,当在本说明书中使用术语“包含”和/或“包括”时,其指明存在特征、步骤、操作、器件、组件和/或它们的组合。
除非另外具体说明,否则在这些实施例中阐述的部件和步骤的相对布置、数字表达式和数值不限制的范围。同时,应当明白,为了便于描述,附图中所示出的各个部分的尺寸并不是按照实际的比例关系绘制的。对于相关领域普通技术人员已知的技术、方法和设备可能不作详细讨论,但在适当情况下,所述技术、方法和设备应当被视为授权说明书的一部分。在这里示出和讨论的所有示例中,任何具体值应被解释为仅仅是示例性的,而不是作为限制。因此,示例性实施例的其它示例可以具有不同的值。应注意到:相似的标号和字母在下面的附图中表示类似项,因此,一旦某一项在一个附图中被定义,则在随后的附图中不需要对其进行进一步讨论。
在的描述中,需要理解的是,方位词如“前、后、上、下、左、右”、“横向、竖向、垂直、水平”和“顶、底”等所指示的方位或位置关系通常是基于附图所示的方位或位置关系,仅是为了便于描述和简化描述,在未作相反说明的情况下,这些方位词并不指示和暗示所指的装置或元件必须具有特定的方位或者以特定的方位构造和操作,因此不能理解为对保护范围的限制;方位词“内、外”是指相对于各部件本身的轮廓的内外。
为了便于描述,在这里可以使用空间相对术语,如“在……之上”、“在……上方”、“在……上表面”、“上面的”等,用来描述如在图中所示的一个器件或特征与其他器件或特征的空间位置关系。应当理解的是,空间相对术语旨在包含除了器件在图中所描述的方位之外的在使用或操作中的不同方位。例如,如果附图中的器件被倒置,则描述为“在其他器件或构造上方”或“在其他器件或构造之上”的器件之后将被定位为“在其他器件或构造下方”或“在其他器件或构造之下”。因而,示例性术语“在……上方”可以包括“在……上方”和“在……下方”两种方位。该器件也可以其他不同方式定位(旋转90度或处于其他方位),并且对这里所使用的空间相对描述作出相应解释。
此外,需要说明的是,使用“一”、“二”等词语来限定零部件,仅仅是为了便于对相应零部件进行区别,如没有另行声明,上述词语并没有特殊含义,因此不能理解为对保护范围的限制。
以上所述仅为的优选实施例而已,并不用于限制,对于本领域的技术人员来说,可以有各种更改和变化。凡在的精神和原则之内,所作的任何修改、等同替换、改进等,均应包含在的保护范围之内。
32070602010017