- 暂时还没有文章
锅炉水取样冷却器产品使用及存在问题分析
锅炉水取样冷却器产品使用及存在问题分析,锅炉的给水必须经过软化,除去水中的钙、镁离子,以防止运行过程中结垢,影响传热效率。对蒸汽锅炉来说,在运行过程中随着锅炉中的水不断蒸发,留在锅炉水中的总碱度超过26mmol/L时,会对锅炉造成严重的碱性腐蚀,故在蒸汽锅炉运行中,为了控制碱的浓度,必须对锅炉水质定期取样化验,超标时就要定期排污(放掉一部分锅炉中的水),然后补充新水。由于锅炉中的水温高达100℃以上,必须通过门的设备——水质取样冷却器,将待化验的水质温度降至40℃以下。
目前旧的锅炉水取样器存在的问题:1、锅炉水取样器冷却水完全当废水排放,炉水取样冷却器每天24小时运行,每台冷却器每小时耗水量按1吨计算,每天将有近24吨水全部作为废水排放掉;2、热交换后的冷却水带有一定的热量,这部分热量排放掉也是种浪费;3、体形笨重,结构陈旧,维护不便。
锅炉水取样冷却器,不仅可以快速对锅炉水进行冷却,并且可以有效将锅炉冷却水的热量回收利用,具有冷却效率高、效果好、节能环保、使用便捷等多种优点。
技术方案来实现:
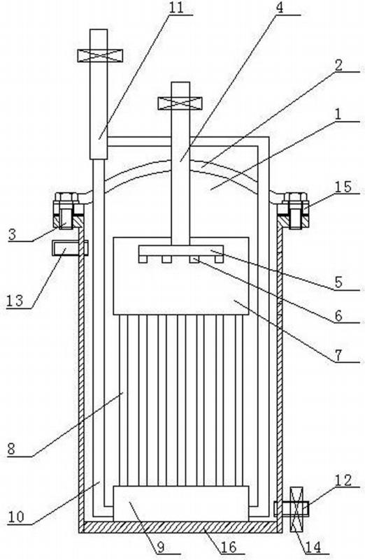
一种锅炉水取样冷却器,包括筒体、封盖,封盖通过多个螺栓固定连接筒体;筒体内部上端装置冷却液进液管,冷却液进液管上端穿出封盖,下端连接横供水管,横供水管上装置多个喷头,带有多个喷头的横供水管装置在喷淋换热箱内部;喷淋换热箱底端装置多根换热直管,换热直管底端装置在中转换热箱上,中转换热箱左右两端各通过多根弯曲换热管连接取样水管,取样水管装置在筒体外侧上端。筒体右侧下端装置冷凝水进水管,筒体左侧上端装置换热水出水管;冷凝水进水管上装置控制阀。
冷却液进液管与取样水管上各装置一个控制阀。封盖与筒体之间装置橡胶密封圈。筒体内筒面上装置保温材料层。保温材料层为聚氨酯保温材料层。
安装锅炉水取样冷却器有益效果:本发明的一种锅炉水取样冷却器,不仅可以快速对锅炉水进行冷却,并且可以有效将锅炉冷却水的热量回收利用,具有冷却效率高、效果好、节能环保、使用便捷等多种优点。
图1是本发明的整体结构示意图;
锅炉水取样冷却器图中,1-筒体;2-封盖;3-螺栓;4-冷却液进液管;5-横供水管;6-喷头;7-喷淋换热箱;8-换热直管;9-中转换热箱;10-弯曲换热管;11-取样水管;12-冷凝水进水管;13-换热水出水管;14-控制阀;15-橡胶密封圈;16-保温材料层。
32070602010017