- 暂时还没有文章
煤粉取样器,锅炉等速飞灰取样器使用说明和安装步骤,飞灰是指燃料在锅炉炉膛燃烧后随烟气进入尾部烟道的细小颗粒,飞灰中未燃尽碳的质量占飞灰量的百分率叫飞灰可燃物含量,飞灰中可燃物含量是反映锅炉燃烧效果的主要指标,在锅炉的日常运行中,需要定时地采集飞灰样品来测定飞灰可燃物含量,以便监督锅炉燃烧工况的质量,及时改进运行操作,提高锅炉热效率。另外在做锅炉性能考核试验、锅炉燃烧调整试验、锅炉热效率试验和空预器漏风试验时也需要采集飞灰样品来测定飞灰可燃物含量以便为热力计算提供准确的数据。
然而,目前绝大多数电厂用的还是老式的撞击式飞灰取样器,因为它无法实现等速取样,因而使飞灰中较大的颗粒被撞击而落入集储灰罐中,造成所采集的飞灰样品中粗粒比实际飞灰中粗粒多,使其飞灰可燃物含量测定结果偏高,结果使锅炉热力计算不准确。另外即使现在已有的自抽式飞灰取样器,由于它们没有静压、全压管及相配合的差压计,所以在实际取样时无法判断抽气量调节的是否合适,更不能真正实现“等速取样”,因此取样的准确性仍然较差,没有完全解决飞灰取样的准确性问题,只不过比撞击式取样更为方便和灵活些罢了。
一种结构独特、真正实现等速取样且无须动力以便为电厂提供准确无误飞灰样品、使热力计算更加精确的等速飞灰取样器。
煤粉取样器,锅炉等速飞灰取样器通过如下方式实现:
煤粉取样器,锅炉等速飞灰取样器,包括取样头、取样管、取样套管、取样器底座、扩压管、抽气器、进风调节风门、分离器和储灰罐,其特征是:在取样套管内装有取样管和外压管,取样管一端插入烟道内,另一端与分离器相连,并在与分离器相连的管道上设有内压管,该内压管与外压管之间接有差压计,分离器下部接有储灰罐,分离器上部与抽气器相连,抽气器一端通过扩压管插入烟道内,另一端位于大气中,入口装有进风调节风门;分离器与抽气器之间的管道上设有反吹阀;内压管与外压管上均设有阀门;取样头上配合有一连接螺母;差压计为膜片式差压计;取样器底座通过若干个螺栓连接在烟道墙壁上。
煤粉取样器,锅炉等速飞灰取样器有如下效果:
1)结构独特能实现等速无动力取样:煤粉取样器,锅炉等速飞灰取样器设有内、外压管及与之相配的膜片式差压计,从而通过改变进风调节风门的开度大小来真正实现等速取样,因而使飞灰试样代表性好、准确。
2)辅助设备少、运行成本低:煤粉取样器,锅炉等速飞灰取样器提供的飞灰取样器无需外接压缩空气,省去压缩泵、软管等设备,节省投资。
3)取样方便、不受烟气流动场合的限值:煤粉取样器,锅炉等速飞灰取样器将取样头设计成螺母连接,拆卸方便,一旦损坏,更换更方便,这样就大大增加了该设备长期使用的安全性和耐久性。另外取样器适用于任何方向上烟气的流动场合,只要转动取样头的方向,保证取样孔与烟气垂直即可,大大增强了取样器的通用性和实用性。
4)设备使用寿命长:煤粉取样器,锅炉等速飞灰取样器提供的飞灰取样器上设有反吹阀,可方便对储灰罐、分离器和取样管进行反吹清扫,防止了设备堵塞;另外通过反吹阀开度的微小改变可细调抽气量使其实现等速;而且各部件均用不锈钢制作,可有效防止烟气对设备的腐蚀,延长了设备寿命。
5)安装、使用简单方便,维护工作量小:连接螺栓直接焊接在烟道墙壁上,与取样器底座上的孔用螺母相连,克服了现有焊接连接的弊端,可以实现随时安装、拆卸。
6)使用范围广:煤粉取样器,锅炉等速飞灰取样器提供的等速飞灰取样器进风调节风门开度调节量大,改变抽气器流量能力大,可适用于大小机组烟道负压不同要求的场合,增强了仪器的通用性和实用性。
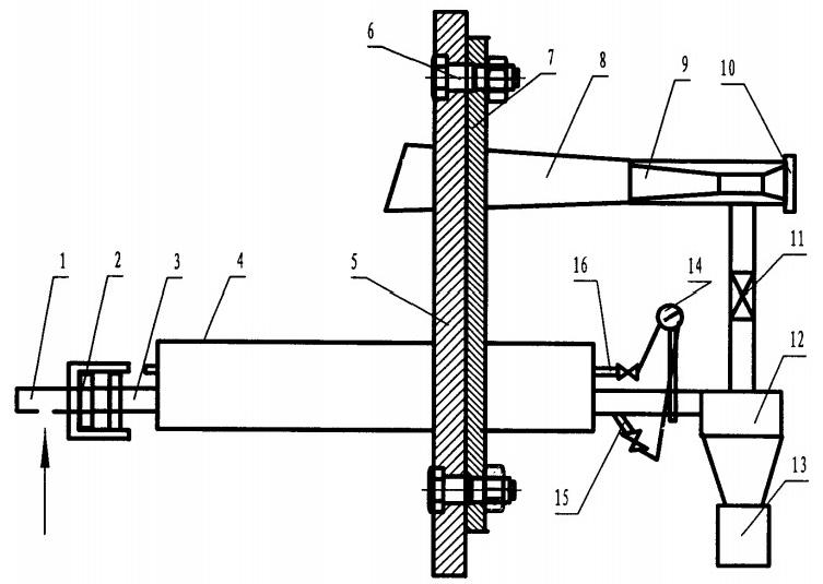
图1为煤粉取样器,锅炉等速飞灰取样器结构示意图。
具体实施方式
煤粉取样器,锅炉等速飞灰取样器包括取样头1、取样管3、取样套管4、取样器底座7、扩压管8、抽气器9、进风调节风门10、分离器12和储灰罐13,如图1所示:在取样套管4内装有取样管3和外压管16,取样管3一端插入烟道内,另一端与分离器12相连,并在与分离器12相连的管道上设有内压管15,该内压管15与外压管16之间接有差压计14。分离器12下部接有储灰罐13,分离器12上部管道与抽气器9相连,并在分离器12与抽气器9之间的管道上设有反吹阀11,分离器12下部接有储灰罐13,分离器12上部与抽气器9相连,抽气器9一端通过扩压管8插入烟道内,另一端位于大气中,入口装有进风调节风门10,取样时改变进风调节风门10大小使差压计14示值为零,此时内外压相等,真正实现等速取样。
在内压管15与外压管16上均设有阀门。在取样头1上配合有一可以实现取样头1全方位旋转的连接螺母2,以实现任何方向的飞灰取样。在实际使用中,差压计14可以为膜片式差压计。取样器底座7通过若干个螺栓6连接在烟道墙壁5上,克服了现有焊接连接的弊端,可以实现随时安装、拆卸。
煤粉取样器,锅炉等速飞灰取样器提供的等速飞灰取样器是依靠外界大气压和烟道内烟气负压所形成的差压使空气在抽气器9中流动,从而产生真空,将烟气从烟道中等速吸入取样管,在旋风分离器12中将烟气中的飞灰分离并收集在储灰罐13中,清洁的烟气则由抽气器8返回烟道。在抽气器进口装有进风调节风门10,可方便用来调节抽气器进气量的大小,使差压计14示值为零,以达到取样管内、外压相等的目的,从而使取样管内抽气速度与烟道中的烟气流速相等,达到真正等速取样的目的。正式取样前,卸下储灰罐13将储灰罐13中的飞灰全部清掉,关闭反吹阀11对取样管进行反吹,然后把储灰罐13拧紧;
打开差压计内外压管15、16上的阀门,开启反吹阀11,改变进风调节风门10开度使进气量改变,直至差压计14示值为零,停止调节,此时开始计时取样,取样时间大约20分钟左右,一般可取5—8g。取样结束后,关闭反吹阀11,将进风调节风门10关闭,使空气不进入抽气器9,防止冷空气进入烟道。卸下储灰罐13,将飞灰样品装入采集样品的容器内,然后将储灰罐拧紧,关闭差压计进口阀门;下一次取样重复方法步骤。
32070602010017