- 暂时还没有文章
烟气煤粉取样器,锅炉煤粉取样装置产品安装使用说明,锅炉飞灰性质是锅炉运行状态的重要参数,锅炉飞灰含碳量是燃煤锅炉的主要运行经济指标和技术指标之一,是指导锅炉燃烧、评价燃烧优劣的依据,也是发电厂开展运行经济考核的原始数据之一,目前锅炉飞灰取样常用撞击式取样,因为撞击式取样无法实现等速取样,造成采集的飞灰颗粒较大,所取样的飞灰不具有代表性,导致测量数据失真,影响使用效果。
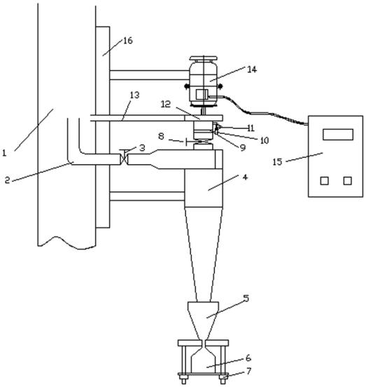
烟气煤粉取样器,锅炉煤粉取样装置技术方案实现的:一种电站烟气飞灰取样装置,包括伸入烟道进行取样的取样管、与取样管位于烟道外侧的出口端相连接且竖直设置的旋风分离器;旋风分离器的底部出口处设有飞灰收集装置;旋风分离器的顶部出风口通过管路连接有通过电机驱动的离心风机,该管路上串接有分离器出口管闸阀;离心风机的出风口通过乏气管再次伸入烟道内;取样管位于烟道外侧的部分串接有取样管闸阀;旋风分离器与离心风机相连接的管路上还设有滤网。
取样管整体呈90度并插入烟道内,携带粉尘的烟气由取样管进入旋风分离器中,在旋风分离器中,烟气与飞灰进行分离,飞灰由旋风分离器下部进入飞灰收集装置中,分离器飞灰的烟气由分离器上部离开分离器进入离心风机,然后由离心风机出口通过管路返回烟气中。离心风机提供动力将烟气从烟道吸出并克服管路、旋风分离器的阻力将分离出飞灰的烟气返送回烟道中,离心风机由电机驱动,电机可通过变频器调节转速,从而调节风机的风量,来达到保持取样管内气流速度与烟气的速度保持一致,以实现等速取样。
取样管呈L型结构,L型结构的水平段一端伸入烟道内,与水平段相连接的竖直段在烟道内向上延伸;水平段的另一端与旋风分离器中上部进口端相连接;取样管伸入烟道内的部分外表面进行防磨处理;取样管内部设有可转动的过滤网。
取样管深入烟道部分外表面进行防磨处理,取样管中设置闸阀,通过闸阀来停止取样装置的运行。取样管到风机管路设置有滤网,对飞灰进行进一步拦截。该过滤网可以进行180度旋转,防止滤网堵塞影响系统运行。
飞灰收集装置包括位于旋风分离器的底部出口下方的储灰罐,储灰罐底部设有开口,储灰罐下方设有集灰瓶,集灰瓶的上端口与储灰罐底部开口密封连接;储灰罐和集灰瓶通过集灰瓶托架固定。
集灰瓶放置在集灰瓶托架上,集灰瓶托架通过三根螺栓与储灰罐固定在一起,并通过螺母的拧紧将集灰瓶与储灰罐底部开口密封在一起。
滤网可旋转的设置在旋风分离器与离心风机相连接的管路上,并通过位于该管路外侧的滤网固定装置进行定位和旋转,滤网固定装置则通过卡子实现定位。
滤网通过滤网固定装置进行固定,同时可以通过滤网固定装置进行旋转,通过旋转,可以降低滤网的堵塞。滤网固定装置通过卡子进行固定,卡子可以围绕固定在管子上的旋转轴进行旋转,当需要将滤网旋转时,将卡子抬起,通过滤网固定装置将滤网旋转180℃,然后将卡子落下,再将滤网固定装置进行固定。
一种电站锅炉等速取样装置,该煤粉取样器装置采用变频电机控制取样气流速度,从而实现等速取样,改进了目前常用取样装置无法实现等速取样的不足,从而使索取飞灰能够真实的反应锅炉的运行状况,为运行人员了解锅炉的运行状况提供了重要的数据。
主要创新点:
1、采用变频电机控制风机运行,从而控制取样管内气流速度以实现等速取样。
2、取样管表面进行金属陶瓷防磨处理,延长取样管的使用寿命。
3、取样管设置闸阀,不需取样时,关闭阀门,停止系统的工作。
4、旋风分离器出口设置滤网,进一步将飞灰与烟气进行分离。
5、滤网可以进行旋转,防止滤网被飞灰堵塞。
图1烟气煤粉取样器,锅炉煤粉取样装置结构示意图。
1-烟道,2-取样管,3-取样管闸阀,4-旋风分离器,5-储灰罐,6-集灰瓶,7-集灰瓶托架,8-分离器出口管闸阀,9-滤网,10-滤网固定装置,11-卡子,12-离心风机,13-乏气管,14-电机,15-变频器,16-整体支架。
32070602010017