- 暂时还没有文章
煤粉取样器,锅炉粉煤飞灰取样器装置火电厂应用
煤粉取样器,锅炉粉煤飞灰取样器装置火电厂应用,粉煤灰的主要来源是以煤粉为燃料的火电厂和城市集中供热锅炉,其中90%以上为湿排灰,活性较干灰低,且费水费电,污染环境,也不利于综合利用。
为了更好地保护环境并有利于粉煤灰的综合利用,粉煤灰综合利用的途径以从过去的路基、填方、混凝土掺和料、土壤改造等方面的应用外,发展到在水泥原料、水泥混合材、大型水利枢纽工程、泵送混凝土、大体积混凝土制品、高级填料等高级化利用途径。
煤粉取样器,锅炉粉煤飞灰取样器装置考虑到除尘和干灰输送技术的成熟,干灰收集已成为今后粉煤灰收集的发展趋
势。
现有的干粉运输是通过使用罐车运送到使用地点,通过使用吹风机将罐车内的粉煤灰吹入到应运场地的管道内,由管道分别运送到不同地点进行应运,但是,粉煤灰进行管道使用时,需要定期对粉煤灰取样,进行检测,以保证其浓度、质量合格。
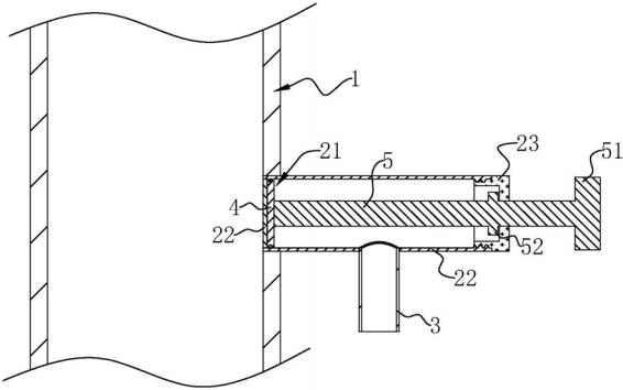
煤粉取样器,锅炉粉煤飞灰取样器装置其技术要点包括粉煤灰进料管,并且粉煤灰进料管呈向下倾斜状,粉煤灰进料管上连通有取样管,并且取样管的尾端设置有带启闭开关的取样阀。
煤粉取样器,锅炉粉煤飞灰取样器装置在取样时,打开取样阀进行取样,这种方式,虽然能够较为方便的进行取样,但是,实际使用过程中,由于取样管竖直向下,粉煤灰向上传动的过程中,有部分粉煤灰会积累在取样管内,在进行取样时,所取出的样品一部分是前段时间积累的,取出的样品浓度偏大,且质量测试不准确。
针对现有技术存在的不足,煤粉取样器,锅炉粉煤飞灰取样器装置能够减小取样管内粉煤灰的堆积,较为有效的提高了检测的准确性。
煤粉取样器,锅炉粉煤飞灰取样器装置技术方案:
煤粉取样器,锅炉粉煤飞灰取样器装置设置在进料管上,包括连接在进料管侧壁上的取样管,取样管侧壁上连通有出样管;取样管在靠近进料管的一端形成与进料管连通的端口,取样管内且于端口处转动设置有控制端口打开或者闭合的封盖。
通过采用上述技术方案,通过在进料管上设置的取样管,在取样管上连接出样管,通过转动设置的封盖可以控制端口闭合或者打开,进而控制粉煤灰进入取样管,在不取样时,可以有效的减小粉煤灰进行取样管内,在进行取样检测时,较为准确。
进料管靠近端口一端固定设置有固定盖,固定盖上开设有进样口一;取样管远离端口的一端转动连接有驱动杆,驱动杆于取样管内与封盖固定连接,封盖另一侧抵接在固定盖上,封盖上开设有与进样口一重合或者完全错位的进样口二。
通过采用上述技术方案,通过设置的驱动杆带动封盖转动,当进样口一和进样口二重合时,可以进行取样检测,当取样口一和取样口二错开时,闭合取样管。
封盖与取样管贴合的侧壁上开设有卡接槽,卡接槽内设置有橡胶圈。通过采用上述技术方案,通过在卡接槽内设置的橡胶圈,可以增加封盖与取样管之间的气密性,使得粉煤灰被阻挡在封盖外侧。
橡胶圈设置有两个或两个以上。取样管在远离端口的一端可拆卸连接有端盖。
通过采用上述技术方案,通过可拆卸设置的端盖,在使用时,端盖固定在取样管上,同时,可以将端盖打开,对取样管内侧进行检修清理。
端盖螺纹连接在取样管上,在驱动杆上且于端盖内侧固定设置有与端盖内端面抵接的定位环。
通过采用上述技术方案,通过设置的定位环,使得驱动杆在取样管内的位置固定,从而,使得封盖与固定盖之间的位置较为稳定。
出样管上设置有控制其打开或者闭合的球阀。
安装煤粉取样器有益效果:
1、通过在进料管上设置的取样管,在取样管上连接出样管,通过转动设置的封盖可以控制端口闭合或者打开,进而控制粉煤灰进入取样管,在不取样时,可以有效的减小粉煤灰进行取样管内,在进行取样检测时,较为准确;
2、通过设置的驱动杆带动封盖转动,当进样口一和进样口二重合时,可以进行取样检测,当取样口一和取样口二错开时,闭合取样管。
图1为煤粉取样器,锅炉煤粉飞灰取样器装置的整体结构示意图;
图2为煤粉取样器,锅炉煤粉飞灰取样器装置的半剖视图;
图3为煤粉取样器,锅炉煤粉飞灰取样器装置的爆炸图。
附图标记:1、进料管;2、取样管;21、端口;22、固定盖;221、进料口一;23、端盖;3、出样管;31、球阀;4、封盖;41、进料口二;42、卡接槽;43、橡胶圈;5、驱动杆;51、手柄;52、定位环。
32070602010017