- 暂时还没有文章
煤粉取样器管道取样装置产品说明及结构示意图
粉煤灰的主要来源是以煤粉为燃料的火电厂和城市集中供热锅炉,其中90%以上为湿排灰,活性较干灰低,且费水费电,污染环境,也不利于综合利用。为了更好地保护环境并有利于粉煤灰的综合利用。
粉煤灰综合利用的途径以从过去的路基、填方、混凝土掺和料、土壤改造等方面的应用外,发展到在水泥原料、水泥混合材、大型水利枢纽工程、泵送混凝土、大体积混凝土制品、高级填料等高级化利用途径。
考虑到除尘和干灰输送技术的成熟,干灰收集已成为今后粉煤灰收集的发展趋势。
现有的干粉运输是通过使用罐车运送到使用地点,通过使用吹风机将罐车内的粉煤灰吹入到应运场地的管道内,由管道分别运送到不同地点进行应运,但是,粉煤灰进行管道使用时,需要定期对粉煤灰取样,进行检测,以保证其浓度、质量合格。
一种粉煤灰进料取样装置(煤粉取样器),其技术要点包括粉煤灰进料管,并且粉煤灰进料管呈向下倾斜状,粉煤灰进料管上连通有取样管,并且取样管的尾端设置有带启闭开关的取样阀。
在取样时,打开取样阀进行取样,这种方式,虽然能够较为方便的进行取样,但是,实际使用过程中,由于取样管竖直向下,粉煤灰向上传动的过程中,有部分粉煤灰会积累在取样管内,在进行取样时,所取出的样品一部分是前段时间积累的,取出的样品浓度偏大,且质量测试不准确。
针对现有技术存在的不足,提供一种粉煤灰管道取样装置(煤粉取样器),能够减小取样管内粉煤灰的堆积,较为有效的提高了检测的准确性。
煤粉取样器技术方案:
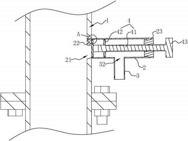
一种煤粉取样器管道取样装置,设置在进料管上,包括连接在进料管侧壁上的取样管,取样管侧壁上连接有出样管;取样管靠近进料管的一端设置有控制取样管的端口打开或者闭合的控制组件。
通过采用上述技术方案,通过在进料管上设置的取样管,在取样管上连接出样管,通过控制组件控制取样管的端口处的进料情况,在不取样时,可以有效的减小粉煤灰进行取样管内,在进行取样检测时,较为准确。
控制组件包括由取样管远离进料管一端从外向内螺纹连接的螺纹杆、于螺纹杆上靠近进料管一端转动连接且滑接在取样管内壁上的封盖,封盖可移动至端口处。
通过采用上述技术方案,通过设置的螺纹杆、以及转动设置在螺纹杆端部的封盖,可以对端口进行闭合,在检测时,再将其开启,使用方便,较有效提高检测准确度。
封盖在螺纹杆上且靠近进料管一端间隔设置有两个或两个以上。封盖与取样管贴合的侧壁上开设有卡接槽,卡接槽内设置有橡胶圈。通过采用上述技术方案,通过在卡接槽内设置的橡胶圈,可以增加封盖与取样管之间的气密性,使得粉煤灰被阻挡在封盖外侧。取样管内壁靠近端口的一端固定设置有对封盖进行限位的挡板。
通过采用上述技术方案,通过设置的挡板,当封盖闭合端口时,封盖抵接在挡板上,挡板对其进行限位,使得封盖不会进入进料管。挡板呈半圆环状,且设置在端口远离地面的一侧。通过将挡板设置呈半圆环状,且位于远离地面的一侧,从而,挡板既可以对封盖进行阻挡,同时,当检测完毕时,取样管内的粉煤灰又可以被推回进料管内。出样管上设置有控制其打开或者闭合的球阀。
煤粉取样器有益效果:
1、通过在进料管上设置的取样管,在取样管上连接出样管,通过控制组件控制取样管的端口处的进料情况,在不取样时,可以较为有效的减小粉煤灰进行取样管内,在进行取样检测时,较为准确;
2、通过设置的螺纹杆、以及转动设置在螺纹杆端部的封盖,可以对端口进行闭合,在检测时,再将其开启,使用方便,较有效提高检测准确度;
3、通过将挡板设置呈半圆环状,且位于远离地面的一侧,从而,挡板既可以对封盖进行阻挡,同时,当检测完毕时,取样管内的粉煤灰又可以被推回进料管内。
图1为一种粉煤灰管道取样装置(煤粉取样器)的整体结构示意图;
图2为一种粉煤灰管道取样装置(煤粉取样器)的半剖示意图;
图3为一种粉煤灰管道取样装置(煤粉取样器)中突出图2中A结构的放大图。
附图标记:1、进料管;2、取样管;21、端口;22、挡板;23、端盖;3、出样管;31、球阀;32、连接口;4、控制组件;41、螺纹杆;42、封盖;421、卡接槽;422、橡胶圈;43、手柄。
32070602010017