- 暂时还没有文章
一种电站烟气飞灰取样器装置结构特点分析
锅炉飞灰性质是锅炉运行状态的重要参数,锅炉飞灰含碳量是燃煤锅炉的主要运行经济指标和技术指标之一,是指导锅炉燃烧、评价燃烧优劣的依据,也是发电厂开展运行经济考核的原始数据之一,目前锅炉飞灰取样常用撞击式取样,因为撞击式取样无法实现等速取样,造成采集的飞灰颗粒较大,所取样的飞灰不具有代表性,导致测量数据失真,影响使用效果。
飞灰取样器装置为解决目前锅炉飞灰取样技术存在采集到的飞灰颗粒较大,所取样的飞灰不具有代表性,导致测量数据失真,影响使用效果的技术问题,提供一种电站烟气飞灰取样器装置。
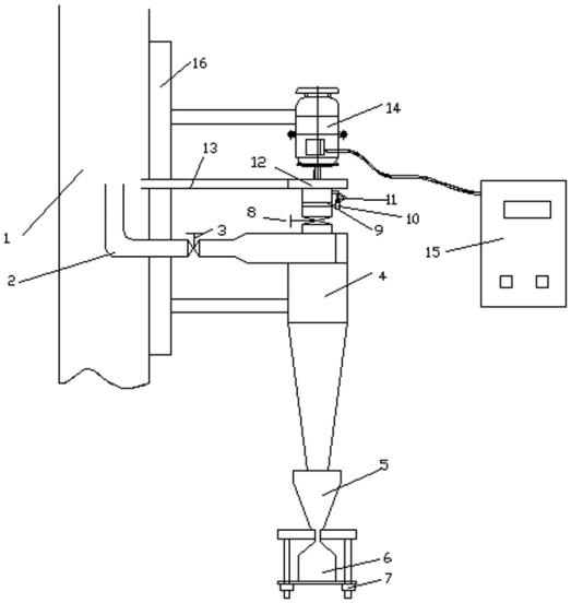
新型是采用如下技术方案实现的:一种电站烟气飞灰取样器装置,包括伸入烟道进行取样的取样管、与取样管位于烟道外侧的出口端相连接且竖直设置的旋风分离器;旋风分离器的底部出口处设有飞灰收集装置;旋风分离器的顶部出风口通过管路连接有通过电机驱动的离心风机,该管路上串接有分离器出口管闸阀;离心风机的出风口通过乏气管再次伸入烟道内;取样管位于烟道外侧的部分串接有取样管闸阀;旋风分离器与离心风机相连接的管路上还设有滤网。
取样管整体呈90度并插入烟道内,携带粉尘的烟气由取样管进入旋风分离器中,在旋风分离器中,烟气与飞灰进行分离,飞灰由旋风分离器下部进入飞灰收集装置中,分离器飞灰的烟气由分离器上部离开分离器进入离心风机,然后由离心风机出口通过管路返回烟气中。离心风机提供动力将烟气从烟道吸出并克服管路、旋风分离器的阻力将分离出飞灰的烟气返送回烟道中,离心风机由电机驱动,电机可通过变频器调节转速,从而调节风机的风量,来达到保持取样管内气流速度与烟气的速度保持一致,以实现等速取样。
取样管呈L型结构,L型结构的水平段一端伸入烟道内,与水平段相连接的竖直段在烟道内向上延伸;水平段的另一端与旋风分离器中上部进口端相连接;取样管伸入烟道内的部分外表面进行防磨处理;取样管内部设有可转动的过滤网。
取样管深入烟道部分外表面进行防磨处理,取样管中设置闸阀,通过闸阀来停止取样装置的运行。取样管到风机管路设置有滤网,对飞灰进行进一步拦截。该过滤网可以进行180度旋转,防止滤网堵塞影响系统运行。
飞灰收集装置包括位于旋风分离器的底部出口下方的储灰罐,储灰罐底部设有开口,储灰罐下方设有集灰瓶,集灰瓶的上端口与储灰罐底部开口密封连接;储灰罐和集灰瓶通过集灰瓶托架固定。
集灰瓶放置在集灰瓶托架上,集灰瓶托架通过三根螺栓与储灰罐固定在一起,并通过螺母的拧紧将集灰瓶与储灰罐底部开口密封在一起。
滤网可旋转的设置在旋风分离器与离心风机相连接的管路上,并通过位于该管路外侧的滤网固定装置进行定位和旋转,滤网固定装置则通过卡子实现定位。
滤网通过滤网固定装置进行固定,同时可以通过滤网固定装置进行旋转,通过旋转,可以降低滤网的堵塞。滤网固定装置通过卡子进行固定,卡子可以围绕固定在管子上的旋转轴进行旋转,当需要将滤网旋转时,将卡子抬起,通过滤网固定装置将滤网旋转180℃,然后将卡子落下,再将滤网固定装置进行固定。
一种电站锅炉等速取样器装置,该煤粉取样器装置采用变频电机控制取样气流速度,从而实现等速取样,改进了目前常用煤粉取样器装置无法实现等速取样的不足,从而使索取飞灰能够真实的反应锅炉的运行状况,为运行人员了解锅炉的运行状况提供了重要的数据。
主要创新点:
1、煤粉取样器采用变频电机控制风机运行,从而控制取样管内气流速度以实现等速取样。
2、取样管表面进行金属陶瓷防磨处理,延长取样管的使用寿命。
3、取样管设置闸阀,不需取样时,关闭阀门,停止系统的工作。
4、旋风分离器出口设置滤网,进一步将飞灰与烟气进行分离。
5、滤网可以进行旋转,防止滤网被飞灰堵塞。
附图说明
图1煤粉取样器结构示意图。
1-烟道,2-取样管,3-取样管闸阀,4-旋风分离器,5-储灰罐,6-集灰瓶,7-集灰瓶托架,8-分离器出口管闸阀,9-滤网,10-滤网固定装置,11-卡子,12-离心风机,13-乏气管,14-电机,15-变频器,16-整体支架。
32070602010017