- 暂时还没有文章
等速飞灰取样器装置结构原理及使用出现问题分析
飞灰是指煤粉在锅炉炉膛燃烧后随烟气进入尾部烟道的细小颗粒,飞灰中未燃尽碳的质量占飞灰量的百分率叫飞灰含碳量,飞灰中可燃物含量是反映锅炉燃烧效果的主要指标。
目前,火力发电燃烧系统和除尘系统中,飞灰取样器装置主要采用的是自抽式飞灰取样装置(中华人民共和国电力行业标准DL/T926-2005),该装置是依靠文丘里抽吸管产生的真空,将烟气从烟道中等速的吸入取样枪,通过旋风分离器中将烟气中的飞灰分离并收集在取样瓶中,清洁空气则由文丘里抽吸管返回烟道。取样枪的吸入流速是通过旋转可调喷嘴来调整取样枪内、外静压,从而使抽吸速度与烟道气流速度一致,达到等速抽取烟气的目的。
该飞灰取样器装置主要存在的问题是:
1、取样枪的流速调整不准确,使取样枪的吸入速度与烟道中的烟气流速不一致,导致取样的准确性较差;
2、取样枪的取样口容易出现堵塞现象,造成无法取样的问题,同时由于堵塞现象的发生,烟气中水分结露,造成取样装置被腐蚀。
飞灰取样器装置一种既可精确保证等速取样,又可有效防止堵塞现象发生的等速飞灰取样器装置。
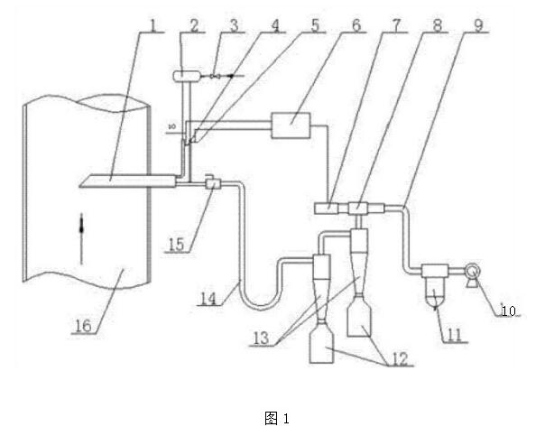
等速飞灰取样器装置,包括取样枪、通过管路与取样枪连接的旋风分离装置、安装在旋风分离装置上的贮样罐和与旋风分离装置相连的真空泵,其特征在于在取样枪内安装有测压管和取样管,取样管与旋风分离装置通过管路相连,在上述测压管和取样管上均安装有压力传感器和反吹管,其中安装在测压管和取样管上的反吹管与压缩空气气源通过阀门相连通,旋风分离装置的出风口通过三通与真空泵相连,三通中剩余的接口上连接有电控阀;上述安装在测压管和取样管上的两压力传感器和电控阀与压力控制装置电连接。
旋风分离装置是由两个旋风分离器串联而成。三通与真空泵相连的管路上安装有烟气处理器。取样枪中的取样管与旋风分离装置相连的管路上安装有取样阀门。
在取样枪内安装了测压管和取样管,同时在测压管和取样管上安装了压力传感器和反吹管,压力传感器和与三通相连的电控阀均与压力控制装置电连接,使具有以下特点:
1、可保证等速取样,提高了取样的准确性。通过压力传感器对测压管和取样管内的压力进行测量,利用压力控制装置对安装在三通上的电控阀的开启大小进行控制,这样就可调节取样管内的压力,当测压管和取样管内的压力差为零时,就说明被测量气流的流速与测压管内的气流流速相同,实现了等速取样的目的。
2、有效解决了取样枪被堵塞现象的发生。在测量前,利用安装在测压管和取样管上的反吹管,通过压缩空气对测压管和取样管进行反吹,可有防止粉尘堵塞取样管,保证了测压管和取样管畅通,同时保证了飞灰取样器装置的精度和使用寿命。
3、结构简单合理、操作方便,即可接地安装连续取样,也可作为便携式试验仪器使用。
4、使用范围广,即可使用在正压环境中,也可使用在负压环境中,解决了从负压环境取样的困难的难题。
附图1为飞灰取样器装置结构原理图;
附图2为飞灰取样器装置取样枪的结构示意图。
32070602010017